BS4504 flange dimensions
BS4504 flange dimensions, một thành phần không thể thiếu trong hệ thống ống công nghiệp, được biết đến với sự linh hoạt và độ chính xác cao trong kích thước. Bài viết này sẽ giúp bạn hiểu rõ hơn về kích thước flange BS4504, cách lựa chọn và vấn đề thường gặp liên quan đến kích thước của chúng.
Bài viết này sẽ giúp bạn tìm hiểu sâu hơn về ống inox, từ cấu tạo, ưu nhược điểm cho đến ứng dụng thực tế của nó trong các ngành công nghiệp.
Giới thiệu về flange BS4504
Định nghĩa flange BS4504
Flange BS4504 là một loại flange tiêu chuẩn của Anh, được sử dụng rộng rãi trong các hệ thống ống công nghiệp nhờ vào độ chính xác cao về kích thước và khả năng kết nối ổn định. Flange BS4504, theo tiêu chuẩn Anh, thực sự đã nắm bắt được sự chú ý của ngành công nghiệp ống dẫn nhờ vào hai yếu tố quan trọng. Trước hết, độ chính xác về kích thước là điều không thể không nhắc tới.
Cấu tạo của flange BS4504
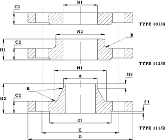
Flange BS4504 bao gồm nhiều thành phần như mặt bích, lỗ bắt vít và vòng đệm. Mỗi thành phần đều có kích thước và vị trí cụ thể để đảm bảo khả năng kết nối tốt nhất. Điều này đảm bảo rằng chúng có thể dễ dàng và chính xác phù hợp với bất kỳ hệ thống ống dẫn nào, bất kể loại hình công nghệ nào đang được sử dụng. Điều này làm giảm thiểu khả năng hỏng hóc hoặc rò rỉ, do đó giúp cải thiện hiệu quả của hệ thống và cải thiện độ an toàn.

Kích thước chuẩn của flange BS4504
Chuẩn đo lường kỹ thuật
Kích thước flange BS4504 được đo lường theo chuẩn kỹ thuật BS4504, bao gồm đường kính ngoài, đường kính trong, độ dày và khoảng cách giữa các lỗ bắt vít. Tiếp theo, khả năng kết nối ổn định của flange BS4504 cũng đóng một vai trò rất lớn trong sự phổ biến của nó. Siêu bền và đáng tin cậy, chúng được thiết kế để chịu được áp lực và nhiệt độ cao mà không cần phải lo lắng về việc làm giảm hiệu suất.
Kích thước thông dụng cho các loại flange BS4504
Flange BS4504 có nhiều kích thước khác nhau, phù hợp với nhiều loại ống khác nhau. Kích thước thông dụng nhất bao gồm DN10, DN15, DN20, DN25, DN32, DN40, DN50, DN65, DN80, DN100, DN125, DN150, DN200, DN250, DN300, DN350, DN400, DN450 và DN500. Điều này có nghĩa là chúng có thể được sử dụng trong các môi trường công nghiệp khắc nghiệt mà không có sự suy giảm về chất lượng hoặc độ tin cậy.
Ứng dụng của flange BS4504
Ứng dụng trong ngành công nghiệp
Flange BS4504 được sử dụng rộng rãi trong nhiều ngành công nghiệp như dầu khí, hóa chất, lọc nước, năng lượng và xây dựng nhờ vào khả năng kết nối ống mạnh mẽ và chính xác. Bên cạnh đó, do được sản xuất theo tiêu chuẩn Anh, flange BS4504 còn đảm bảo sự tuân thủ các quy định và chính sách chất lượng quốc tế. Điều này không chỉ mang lại sự yên tâm cho những người sử dụng sản phẩm, mà còn giúp tiếp tục xây dựng uy tín và chất lượng của tiêu chuẩn này trên toàn cầu.
Flange BS4504 trong hệ thống ống
Trong hệ thống ống, flange BS4504 giúp kết nối các đoạn ống lại với nhau, tạo thành một hệ thống ống hoàn chỉnh và ổn định. Để tóm gọn, flange BS4504 không chỉ đơn thuần là một phần của hệ thống ống dẫn công nghiệp. Chúng còn là một biểu hiện tiêu biểu của sự tinh vi, chính xác và độ tin cậy trong thiết kế cũng như sản xuất, cung cấp một giải pháp hiệu quả cho nhiều vấn đề trong ngành công nghiệp hiện đại.
Lựa chọn flange BS4504 phù hợp với kích thước
Nhận biết và hiểu kích thước
Để lựa chọn flange BS4504 phù hợp, bạn cần hiểu rõ về kích thước của chúng, bao gồm đường kính ngoài, đường kính trong, độ dày và khoảng cách giữa các lỗ bắt vít. Kích thước là một yếu tố rất quan trọng mà người dùng cần quan tâm khi chọn lựa Flange BS4504. Đầu tiên, đường kính ngoài là thông số cần được kiểm soát chặt chẽ vì nó ảnh hưởng đến khả năng kết nối giữa flange và ống, bu lông hoặc các linh kiện khác.

Tính khả dụng và ứng dụng của các kích thước khác nhau
Mỗi kích thước flange BS4504 có ứng dụng và tính khả dụng khác nhau. Để lựa chọn đúng, bạn cần xem xét nhu cầu và điều kiện sử dụng cụ thể của mình. Nếu đường kính ngoài quá lớn hoặc quá nhỏ, việc lắp ráp sẽ rất khó khăn, thậm chí không thể thực hiện được.Đường kính trong cũng không kém phần quan trọng. Đặc biệt với những hệ thống dẫn lưu chất, đường kính trong phải đảm bảo cho dòng chảy ổn định, không gây áp lực quá lớn lên hệ thống, cũng như không gây tắc nghẽn.
Hãy liên hệ với chúng tôi để tìm hiểu thêm về ống inox phù hợp với nhu cầu của bạn. Chúng tôi cam kết cung cấp sản phẩm chất lượng cao và dịch vụ tốt nhất để đáp ứng mọi yêu cầu của bạn trong lĩnh vực ống inox và van inox.
Vấn đề thường gặp về bs4504 flange dimensions
Khả năng tương thích
Một vấn đề thường gặp khi sử dụng flange BS4504 là khả năng tương thích với các loại ống khác nhau. Đôi khi, kích thước của flange không phù hợp với ống, gây ra rò rỉ hoặc lỗi kết nối. Tương tự, bạn cũng cần phải chú ý đến độ dày của flange. Một flange quá mỏng sẽ dễ bị hỏng do áp lực từ bu lông hoặc lực ngoại vi, còn flange quá dày lại làm tăng trọng lượng của toàn bộ hệ thống, có thể ảnh hưởng đến khoảng cách giữa các linh kiện hoặc khả năng chịu lực của chúng.
Giải pháp để khắc phục bs4504 flange dimensions
Để khắc phục vấn đề này, bạn cần lựa chọn kích thước flange BS4504 phù hợp với kích thước và loại ống của bạn. Nếu cần, bạn có thể sử dụng các phụ kiện khác để điều chỉnh kích thước. Cuối cùng, khoảng cách giữa các lỗ bắt vít cũng cần được xem xét. Việc này đảm bảo rằng các bu lông sẽ vừa khớp với flange, giúp tạo nên mối kết nối chắc chắn và ổn định. Hiểu rõ và quan tâm đến những thông số kích thước này sẽ giúp bạn lựa chọn được flange BS4504 phù hợp, quản lý tốt công việc và tiết kiệm thời gian cũng như chi phí.
Kết luận
Hiểu rõ về kích thước flange BS4504 sẽ giúp bạn lựa chọn và sử dụng chúng một cách hiệu quả. Hãy nhớ rằng, lựa chọn đúng kích thước không chỉ giúp cải thiện hiệu suất của hệ thống ống, mà còn giúp tiết kiệm thời gian và chi phí cho việc bảo dưỡng và sửa chữa.
Rất mong các bạn quan tâm và theo dõi valve.vn để cập nhật thông tin mới nhất về bs4504 flange dimensions